고무줄총 사격대회 기준(많은 의견 기다립니다)

작성자Zinuari|작성시간07.08.14|조회수625 목록 댓글 44

고무줄총 사격대회 기준

 

1. 고무줄총 사격대회 (점수 채점 방식)

 

1) 과녁

고무줄총은 기존의 실제 사격대회용 총이나 석궁, 양궁 처럼 점수가 매겨진 과녁을 맞칠수는 없습니다.

* 이유는 고무줄총에 맞은 과녁이 10점에 맞았는지 9점에 맞았는지 쉽게 구분할수 없기 때문입니다.

 

그래서 고무줄총 사격대회는 과녁의 크기를 미리 정해놓고, 일정한 거리에서 맞추는 대회를 열어야 된다고 봅니다.

 

 

 

제가 나름대로 '지름 25mm' 의 과녁을 만들어 봤습니다.

 

이미지를 클릭하면 원본을 보실 수 있습니다.

바닥 부분은 3mm두께의 정사각형으로 가로, 세로 15mm... (너무 작으면... 가로, 세로 20mm)

(바닥을 너무 넓게 만들경우 고무줄총에 약하게 맞으면 안넘어 가는 경우도 있군요..

잘 감안해서 만들어야 될것 같음)

 

이것은 정해진 기준이 아니고 서로 협의해서 수정보완이 필요한 기준입니다.

 

 

 

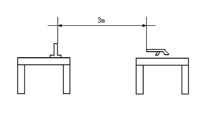
2) 과녁과 총구 사이의 거리

이미지를 클릭하면 원본을 보실 수 있습니다.

1mm

2mm

3mm

4mm

5mm

 

중에서 정합니다.

 

위의 그림에서 처럼... 과녁과, 총구 사이의 거리를 기준으로 합니다.

 

고무줄총의 특성상 5mm 를 넘는 과녁을 정확하게 맞추는것은 거의 불가능하다고 봅니다

(일단 그렇게 보는겁니다. 총기가 더욱 개량되면 얼마든지 가능할수도 있겠지만, 위험도를 감안하여

3mm 정도를 기준으로 하는게 좋을것 같다는 생각입니다.

 

집에있는 각자의 고무줄총으로 직접 시험해보시면 아시겠지만 정확하게 총구에서부터 과녁까지 그것도 지름 25mm의 과녁을 3m 거리에서 명중시켜 넘어트리는것 생각보다 어렵습니다

 

권총 종류는 3m, 장총은 5m로 하는것도 좋을것 같구요.

각자 집에서 실험해보고 자료 올려주세요.

 

 

3)점수 채점 방식

 

그래서 한발을 쏴서 명중시켜서 넘어가면 1점...

명중시키지 못하거나, 명중시켰어도 과녁이 넘어가지 못하면 0점...

 

그렇게 제비뽑기를 한 순서대로 각자 10발씩 쏘는겁니다.

 

7발을 명중시켜서 넘어트리면 7점...

8발을 명중시킨 사람은 8점..

 

둘다 10점씩 나오면... 연장전 10발씩 더 쏘기...

 

이렇게 해서... 토너먼트 방식으로 우승을 정하는것도 좋겠군요...

 

 

그 기준에 맞게 고무줄총을 개조를 하던가, 새로 제작을 하던가 하는 부분이 꼭 필요할거라고 봅니다.

 

 

 

꼭 사격대회를 하기위한 기준이라기 보다는...

고무줄총을 만들때에도 이런 기준은 필요할것 같습니다.

 

혼자서 사격데이터를 만들수도 있을테구요.

다음검색
현재 게시글 추가 기능 열기

댓글

댓글 리스트
  • 답댓글 작성자제페트공작소 | 작성시간 07.10.25 5미리... 별차이없을듯
  • 작성자단신하하 | 작성시간 07.08.28 양면 테이프 같은거 붙인후에 고무줄이 붙게 만들게 할수 있지 않을까 라는 생각이..
  • 답댓글 작성자어머나~ | 작성시간 08.04.04 제가 해봤는데 다 튕겨나가더군요
  • 작성자석궁만들어 | 작성시간 07.10.13 연장 3-5발이 알맞을것 같은뎅
  • 작성자I.L.KJS | 작성시간 08.06.16 포스를 내며 한손으로 잘난척하며 팡
댓글 전체보기
맨위로

카페 검색

카페 검색어 입력폼