CAFE

안테나 이야기방..

천기누설 1 - 안테나 수신감도 올리기와 다이버시디 기능

작성자고바우(최수봉)|작성시간13.02.26|조회수901 목록 댓글 12

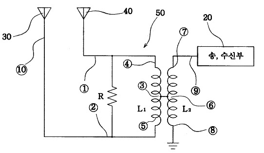
고바우가 이천년 초반 듀얼 안테나로 특허 받았던것인데 회원분들께 안테나의 기능을 업버젼시켜

수신감도를 올리려 할때 어떠한 주파수 대역이라도 가능하니 도움이 되실런지합니다.

 

원리는 예전부터 야기안테나를 휘다선을 사용하여 듀얼이나 쿼드로 묶어 이득을 올려 사용하였었지만

고바우는 RF Combine을 사용하면 더 합리적인 방법이란 것에 착안하였던것이랍니다.

 

RF Combine이란것이 대단한것도아니고 TV 75옴 공청용 2분배기나 4분배기를

역으로 사용하여 출력쪽을 안테나 입력으로 하고 입력쪽을 출력으로 사용하면

회로적으로도 Isolation 이 -30dB이상 정도로 안테나끼리의 간섭 영향이 아주적죠.

또한 듀얼안테나로는 3dB정도 쿼드는 6dB정도의 이득을 올릴수있슴과

안테나끼리의 간격을 줌으로서 공간 다이버시디 역할을하며 Fading에 유리합니다.

 

*공청용 분배기의 주파수 특성이 5메가에서 900메가 정도로 탁월한 주파수특성도 있거니와

Combine으로 사용하여도 대역내의 어떠한 주파수일지라도 혼합을 할 수 있으며

하모닉이 않 생기니 이쁜녀석이랍니다.

 

 

 

 

다음검색
현재 게시글 추가 기능 열기

댓글

댓글 리스트
  • 작성자운영지기(金鎭會) | 작성시간 13.02.27 시골 과수원에 살던때 TV가 KBS는 잘나오는데 MBC 전파가 약하여 부스터 달아도 효험 없어 야기 안테나 2대로 30M 간격으로 개선한적 있었네요
    나중에 알고보니 일종의 다이버시티 원리였군요..
  • 답댓글 작성자kimkd47(金基德) | 작성시간 13.02.27 ???? 다이버스티의 두개의 안테나 까지는 맞읍니다....두개의 안테나를 사용하여 그중에 강하게 들어오는 전파를 자동으로 선택하여 수신감도개선 <송신측 이동시 방향 변화에의하여전파이 끈어짐 방지>~~~시초는 2차 대전때부터일겁니다..
  • 작성자문사이버 | 작성시간 13.02.27 난시청 지역은 부스타 달아도 잘 안나오는 곳이 있지요 이런 마을엔 마을 산 꼭대기에 공청 안테나 달아서 분배기 써가며 집집마다 나오게 했지요 다이버시티인지 다이버스티인지 난 그런거 안배워서 모르지만 야기 안테나로 두 개를 겹쳐 이득을 더 크게 받아들여 보셨다면 이것은 대단한 실력입니다 축하 짝짝짝!
  • 작성자맥가이샘(서임철) | 작성시간 13.02.27 부스터와 쌍안테나는 많이 보았지요. 저도 시골출신이라서요... 그런데 HD방송주파수대와 과거에 사용하던 VHF,UHF 채널범위와는 어떻게 되는지요?
  • 작성자고바우(최수봉) 작성자 본인 여부 작성자 | 작성시간 13.02.27 HF 나 VHF UHF 안테나 크기만 다를뿐 역할은 똑 같습니다.
    수직으로 2단을 사용하면 이득쪽으로 유리하고요
    수평으로 2단 설치 방법은 이득도있지만 공간 다이버시디 역할쪽에 충실도가 높습니다.
댓글 전체보기
맨위로

카페 검색

카페 검색어 입력폼