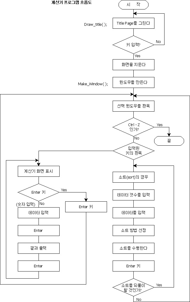
프로그램 흐름도의 예 작성자별은빛나고|작성시간12.07.06|조회수494 목록 댓글 0 글자크기 작게가 글자크기 크게가 흐름도를 작성하는 이유와 방식을 이해하는데 도움이 된다고 생각하여 올립니다. <출처> 황희융 편저, C프로그램 이렇게 짠다, 교학사, 1991, p 741 다음검색 현재 게시글 추가 기능 열기 북마크 공유하기 신고 센터로 신고 댓글 댓글 0 댓글쓰기 답글쓰기 댓글 리스트