CAFE

안전관리

6.측압계산

작성자태기|작성시간09.12.01|조회수2,366 목록 댓글 0

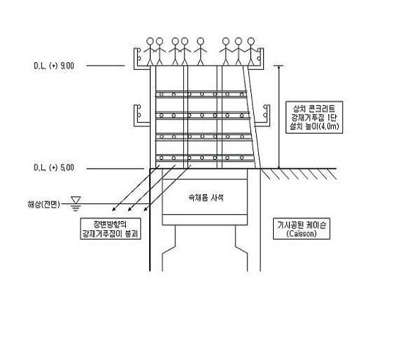
 사고개요 

  - ‘07. 10. 19.(금) 17:20경 oo건설(주) 협력업체인 (주)oo 소속 근로자 5명, 직원 1명, oo건설(주) 직원 1명, 펌프카 기사 1명 등 총 8명이 안벽 상치 CON'C 구조물(가로 약 10m, 세로 5.2m, 높이 4.2m) 속채움 CON'C 약 180㎥(총 타설 예정물량 210㎥)을 타설하던 중,

  - 강재거푸집이 터지면서 강재거푸집 상부에서 콘크리트 타설 및 진동다짐 작업 중이던 전체 8명이 해상으로 추락하여 3명은 구출되고, 5명은 사망ㆍ실종된 재해임

 








이형철근(D22)과 폼타이용접부

 


메스 콘크리트 타설시 문제되는 것은 수화열과 콘크리트 측압과의 상관관계입니다. 수화열을 낮추기 위한 온도제어는 콘크리트 경화를 지연시켜 콘크리트 측압이 커지고, 콘크리트 측압을 감소시키기 위해서는 경화를 빨리 진행시켜야 한다는 문제점을 가지고 있습니다. 현재 메스 콘크리트에 대한 측압에 대한 기준이 명확하지 않아 당 현장의 거푸집 붕괴사고에 대한 자세한 원인 규명이 어렵지 않아 생각됩니다. 그러나 나름대로 다음과 같이 추정하여 접근해 보았습니다. 아마 큰 틀로만 보면 맞을 것입니다


재해발생 사진에서 보면 상치콘크리트의 장변방향으로 거푸집 긴결재로 철근(D22)에 폼타이(정확한 규격이 나와 있지 않아서 16±0.5mm로 가정함)를 용접하여 사용한 것으로 보입니다.

16±0.5mm 규격의 폼타이의 인장하중은 72KN(KS규격에 나와 있는 인장강도지만 의문이 갑니다. 비싼 KS규격의 제품을 사용했을까요. KSF8023참조)으로 허용인장응력은 72KN÷단면적÷2(안전율)=0.56KN/㎟ (56kg/㎟)

주)허용인장응력은 용접부위의 허용하중을 계산하기 위해서입니다


사진에서 파단된 철근과 폼타이 볼트의 용접부위를 보면 용접길이가 3cm, 목두께는 사진상으로 판독하기 어려워서 약 0.2cm로 가정해 보았습니다.

(0.2cm의 가정이 맞는 것인지는 모르겠지만 넘어가겠습니다)

폼타이 용접부위 1개소의 허용하중

= 용접길이 x 목두께 x 폼타이의 허용인장응력 =

15mm x 2mm x 56kg/㎟ = 1,680kg


장변방향으로 폼타이 28개가 사용되어 ㎡당 폼타이가 받을 수 있는 인장강도는

28개소 x 1,680 kg ÷ 장변측 단면적(5.2 x 4.2m) = 2,154 kg/㎡

상치콘크리트 단면

세로 : 5.2m, 가로 : 10m, 높이 4.2m

 

콘크리트 측압(가설공사 표준시방서)은

  타설속도가 2.1m/hr 이하이고, 타설높이가 4.2m 미만인 벽체로 보면 

 p = 46.7 kN/㎡ = 4.67 tf/㎡

 

즉 콘크리트 측압과 폼타이의 인장강도를 비교해 보면

콘크리트 측압(4.67 tf/㎡) >폼타이 인장강도(2.15 tf/㎡)    N.G

 

 

 

콘크리트 측압관련 기준


콘크리트 측압관련 국내시방서 및 외국규정의 내용입니다.


1. 콘크리트표준시방서 (2003)

(4) 거푸집 설계에서는 굳지 않은 콘크리트의 측압을 고려한다.

① 콘크리트의 측압은 사용재료, 배합, 타설 속도, 타설 높이, 다짐 방법 및 타설 시의 콘크리트 온도에 따라 다를 뿐만 아니라, 사용하는 혼화제의 종류, 부재의 단면 치수, 철근량 등에 의해서도 영향을 받으므로 그 값을 정할 경우에는 이들 요인의 영향을 충분히 검토한다.

② 보통포틀랜드시멘트를 사용하고 단위용적질량이 2400kg/㎥, 슬럼프 100mm 이하의 콘크리트를 내부진동기를 이용하여 타설할 경우 측압은 일반적으로 다음 식을 사용하여 계산해도 좋다.

기둥의 경우

 

 

벽체로서 R≤2m/h인 경우

 

 

벽체로서 R〉2m/h인 경우

 

 




③ 재진동을 하거나 거푸집 진동기를 사용할 경우, 묽은 반죽의 콘크리트를 타설하는 경우 또는 응결이 지연되는 콘크리트를 사용할 경우에는 측압을 적절히 증가시킨다.

다음검색
현재 게시글 추가 기능 열기

댓글

댓글 리스트
맨위로

카페 검색

카페 검색어 입력폼