CAFE

한국전통건축

공포(拱包) / 다포 양식의 특징

작성자Wood樂|작성시간09.01.14|조회수1,846 목록 댓글 0

공포(拱包)

 

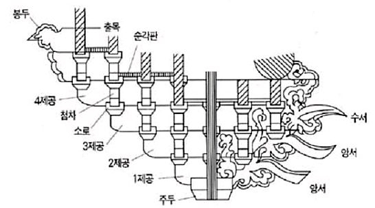
공포는 기둥 위에 첨차와 제공을 겹겹이 포개어 도리를 받치는 부분으로 구조적인 요소와 장식적인 요소를 겸하고 있다. 주심에서 건물 내외로 출목을 내밀게 하여 도리를 받치게 하는 구조물이다. 처마 내밀기와 내부의 공간구성은 부재 길이와 단면크기의 한계 때문에 무한정 길게 내밀게 할 수 없으므로 출목을 만들고 도리를 중간에서 받쳐 건물의 공간을 넓힐 수 있거나 처마를 더 길게 내밀게 할 수 있도록 한 것이다. 공포는 부재가 수겹으로 겹치기 때문에 일정한 모듈로 해야하고 또 겹친 부재의 미관상 장식화 되기도 한다.

 

공포는 배치된 위치에 따라 주심포 양식(柱心包 樣式)과 다포 양식(多包 樣式)으로 구분한다. 외형상으로 보아 주심포 양식은 기둥 위에만 공포를 배열하는 것이고 다포 양식은 기둥과 기둥 사이의 공간에도 공포를 배열하는 것이다. 주심포 양식은 고려말과 조선초기까지의 비교적 소형건물에 유행되다가 조선중기이후가 되면 건물이 대형화되고 보다 더 장엄하게 됨에 따라 다포 양식이 더 성행하게 된다.

 

남아 있는 건물가운데 주심포 양식의 대표적인 건물로는 안동 봉정사 극락전과 영주 부석사 무량수전과 조사당, 예산 수덕사 대웅전, 영천 은해사 거조암 영산전, 영암 도갑사 해탈문, 순천 송광사 국사전, 강릉 객사문 등 수동에 불과하고 다포 양식으로는 경복궁 근정전, 창덕궁 인정전, 경주 불국사 대웅전, 구례 화엄사 대웅전과 각황전, 봉정사 대웅전, 강화 전등사 대웅전, 양산 통도사 대웅전, 김제 금산사 미륵전, 부여 무량사 극락전, 대구 동화사 대웅전, 서울 숭례문과 흥인지문, 서울 문묘, 나주향교 대성전 등으로 궁전의 정전과 사원의 법당 등 주된 건물에 주로 사용되었다.

 

다포 양식의 특징

 

* 기둥과 기둥사이의 횡재 위에도 공포를 배치한다.

* 건물의 외부와 내부에도 공포를 배치하고 이출목이상이 된다.

* 창방위에는 평방을 놓고 평방위에 공포를 배치한다

* 주두나 소로에는 굽받침이 없고 곡면을 이루지 않는 것이 표준이다.

* 주심포에는 단장혀이나 다포 양식은 통장혀로 한다.

* 보방향의 첨차는 쇠서형을 따르고 내부는 교두형이나 운궁형태이다.

* 첨차의 양끝은 직절되고 하부는 원호형을 이룬다.

* 안초공을 기둥머리에 평방과 교차하여 끼우기도 한다.

* 기둥은 민흘림이다.

* 보의 형태는 사각형단면으로 모를 접는 정도이며 주심포 양식의 항아리보와 같은 형태가 아니다.

* 후기의 살미는 초각이 많아지고 섬약해진다.

* 천정에는 반자로 마감하여 지붕밑부분이 보이지 않게 한다.

1. 주두

 

2. 제공설치

 

3. 소첨 대첨 설치

 

 4. 외1출 소첨 설치

 

5. 내 소첨 설치

 

 6. 2제공 설치

 

7. 외2출목 소로 설치(1)

 

 8. 외2출목 소첨 설치(2)

 

9. 3제공 설치

 

 10. 외3출목 소첨, 주심장혀, 내3출 소첨 설치

 

11. 4제공과 첨차 설치

 

  12. 내5출목 소첨 대첨 설치

 

13. 내5출목 소첨 대첨 장혀 외출목도리 설치

 

 각 부분의 명칭

 

 

 

출처 : 국립문화재연구소 / 대목장

다음검색
현재 게시글 추가 기능 열기

댓글

댓글 리스트
맨위로

카페 검색

카페 검색어 입력폼