CAFE

지식 게시판

UG NX - 3D 모델링 및 어셈블리 조립 방법에 관한 강의를 공유합니다. (실무 및 자격증 실기)

작성자강선남|작성시간22.11.03|조회수330 목록 댓글 0

https://youtu.be/ajmAC5wH48g

 

안녕하세요. 토이즈코리아 입니다. ^ ^

UG NX - 3D 모델링 및 어셈블리 조립 방법에 관한 강의를 공유합니다.

(실무 및 자격증 실기)

 

모쪼록, 3D모델링 공부가 필요하신분들에게 도움이 되셨으면 좋겠습니다.

감사합니다.

 

0, 예제 도면 파일 등 다운로드 URL

첨부파일 참조

 

 

1, 작업제목

[ UG NX - 3D 모델링 ] 80강 UG NX 3D 3차원 모델링 및 어셈블리 조립 작업 (3D Modeling & Assembly)

2, 작업설명

(1) 스케치 및 3차원 모델링, 데이텀 설정 방법에 대한 설명

(2) 치수 및 지오메트리 구속조건 설정 방법에 대한 설명

(3) 돌출 및 빼기, 구배, 모서리 블렌드 모델링 방법에 대한 설명

(4) 어셈블리 정렬 구속조건 및 조립 방법에 대한 설명

(5) 조립품 확인 및 수정 방법에 대한 설명

3, 작업내용

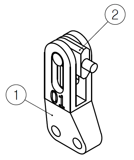
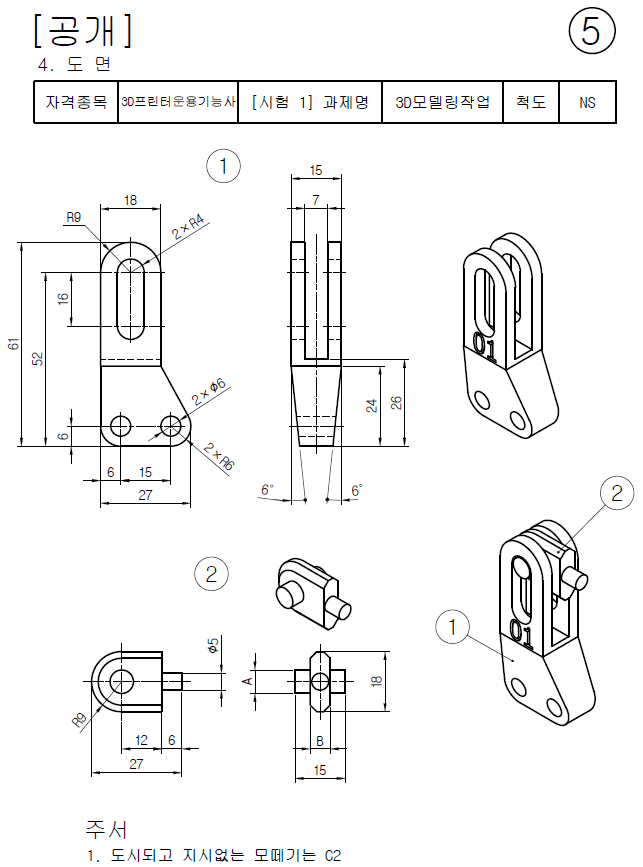
(1) 3D프린터운용기능사 3D모델링작업 공개도면 5번 도면을 활용합니다.

(2) 스케치 작성시, 모델링을 생성하기 쉬운 방향에서 스케치를 진행합니다.

(3) 어셈블리 작성시, 메인 모델링을 먼저 고정하고 모델링을 추가합니다.

(4) 도면해독 및 완성품을 검토하고, 작업을 완료합니다.

4, 기타

(1) 3D프린터운용기능사 및 3차원 모델링, 조립 실기 대비 가능

(2) 전산응용기계제도기능사 및 기계설계산업기사, 일반기계기사 실기 대비 가능

(3) UG NX 단기속성 능력향상 가능

(4) 대학전공 캐드 및 설계, 임용고시 2차 기계요소 제도, 설계 시험 대비 가능 등

 

다음검색
현재 게시글 추가 기능 열기

댓글

댓글 리스트
맨위로

카페 검색

카페 검색어 입력폼