CAFE

⊙ 건설업&4대보험

기계설비공사업 면허 등록기준 요약정리

작성자주RoK|작성시간20.06.11|조회수2,439 목록 댓글 0


출처 2019.5.26. 23:50 오수건설정보 블로그 !!

https://ohsu2829.tistory.com/45



기계설비건설공제조합

http://www.seolbi.com/


기계설비건설업 등록절차및 기준

http://www.kmcca.or.kr/portal/bbs/selectBoardList.do?bbsId=10000000000000000039&bbsView=HTML


http://www.kmcca.or.kr/portal/bbs/selectBoardList.do?bbsId=10000000000000000039&bbsView=HTML&goMenuNo=9000000011&topMenuNo=3000000000&upperMenuNo=0&upperMenuNo=3000000000








첨부파일 [별지 제1호서식] 건설업등록신청서.hwp



첨부파일 대표자 및 임원명단.hwp




첨부파일 건설기술인력보유현황표.hwp



첨부파일 [별지 제22호서식] 건설공사용시설·장비의보유현황표.hwp



첨부파일 회원가입신청서.hwp








기계설비공사업 면허 등록기준 요약정리


전문건설업 자본금 기준이 2019.06.19일자로 변경되어 30%완화되었으므로 참고하시길 바랍니다

(기계설비공사업 자본금 기준:2억->1.5억 하향적용)

오늘은 전문건설업 면허 중 기계설비공사업 면허 취득에 대해 알려드리고자 합니다.

기계설비건설공제조합에 따로 있을정도로 등록신청 문의가 많은 업종중 하나입니다.

1500만원미만의 경미한 공사가 아닌 이상은 관련 공사업면허를 취득한후 공사를 하여야 하는데요

이를 위반시 처벌이 될수 있으므로 이점 유의하시기 바랍니다.

공사업 뿐아니라 기계설비 관련 업을 하는경우도 점차 건설업 등록증을 필요로 하는 추세라

등록증 취득에 관한 문의가 많습니다. 면허취득에 조건이 어떠한 요건을 필요로 하는지

하나씩 설명 드리겠습니다.

먼저 기계설비공사업 업무영역에 대해 살펴보도록 하겠습니다.




기계설비공사업 면허취득 방법은 여러가지가 있으나 실적이 필요하지 않는경우 신규로 면허를

취득하시는게 여러가지면에서 유리합니다.

 기계설비면허 등록신청시 조건은 법으로 정한 4가지 요건이 있는데 이 요건을 잘 갖추어야만

등록증 취득이 가능하십니다.




<< 기계설비공사업 등록기준>>

1.자본금

2.공제조합 예치

3.기술능력

4.시설 및 장비




1.자본금 기준( 2억 ->1.5억 변경됨 /2019.06.19기준)

기계설비공사업 면허취득을 위해 첫번째로 갖춰야할 요건은 자본금 규정입니다.

-개인,법인 모두 1.5억이상 실질자본금을 예치해야하는데 등기부등본상의 납입자본금 또한1.5억이 안되어

있을경우 증자를 해놔야 합니다.

(기존회사의 경우 재무제표검토가 선행되어야 하며, 사전검토를 통해 정확히 준비해야할 금액을

알수가 있습니다)

-일정기간 금액을 유지한후 기업진단이라는것을 보게 되는데 이는 등록신청을 위해 필수적으로 필요한

절차입니다

-등록신청시 자본금 입증 필수서류=> "재무관리상태 진단보고서"




2.공제조합 출자예치

기계설비공사면허 등록기준 두번째는 기계설비건설공제조합에 출자금을 예치하는 일입니다

-예치하는 금액은 공제조합 자체 신용평가를 통해 결정되며 평가에 따라 금액이 달라지나 대략

4,700~5,000만원정도 생각하시면 됩니다.

-이 금액은 자본금 규정 2억안에 포함되는 금액이며 면허취득후 보증업무를 위한 예치금이므로

면허증으로 보유하는동안 묶이는 자금으로 생각하시면 됩니다

약 5천만원 (등록자본금의 20~25%)을 예치하면 되고 이는 나중에 공제조합 출자금으로 전환이 될 것입니다.

-등록신청시 츨자금 예치 입증 필수서류=> "보증가능금액확인서"





3.기술능력 요건

기계설비면허 등록을 위한 세번째 기준은 기술자 2인이상 채용입니다.

-기계 또는 건축분야 초급이상의 경력수첩소지자 이거나 아래 표의 국가기술자격증을 보유한

기술자만이 가능합니다

- 기술자 요건은 상시근무자로서 4대보험에 가입이 되어 있어야 하며.타사업장에 겸업,겸직하면

안되므로 전직장의 퇴사여부를 확인하시고 등록신청을 하셔야 합니다.

-등록신청시 기술자 입증 필수서류=> "4대보험 가입자명부", " 피보험자격이력내역서 ","자격증사본"

 

   ※국가기술자격법에 따른 기계설비공사업 종목기술자격증




4.시설 및 장비 요건

 

기계설비공사업 면허의 마지막 요건은 사무실 규정입니다.

-사무실 요건은 어렵지는 않으나 기본사항을 잘 준수하여야 합니다.우선, 용도가 근린생활시설과 같이

업무용,공장등으로 되어 있어야 하며 가건물이나 주거용은 불가하오니 이점 유의해서 사무실을 구하셔야

합니다.

-면적규정은 없어졌으나 직원이 사무를 볼수 있는 기본적인 환경을 갖추어야 하므로 사무집기 및

공간이 확보되어야 합니다.

-타사업장과 같은공간에 있으면 안되며 반드시 독립된 공간에 있어야 합니다.

-등록신청시 츨자금 예치 입증 필수서류=> "건물등기부등본","임대차 계약서" 

이상으로 기계설비공사업 기준에 대해 대략적으로 설명 드렸습니다.

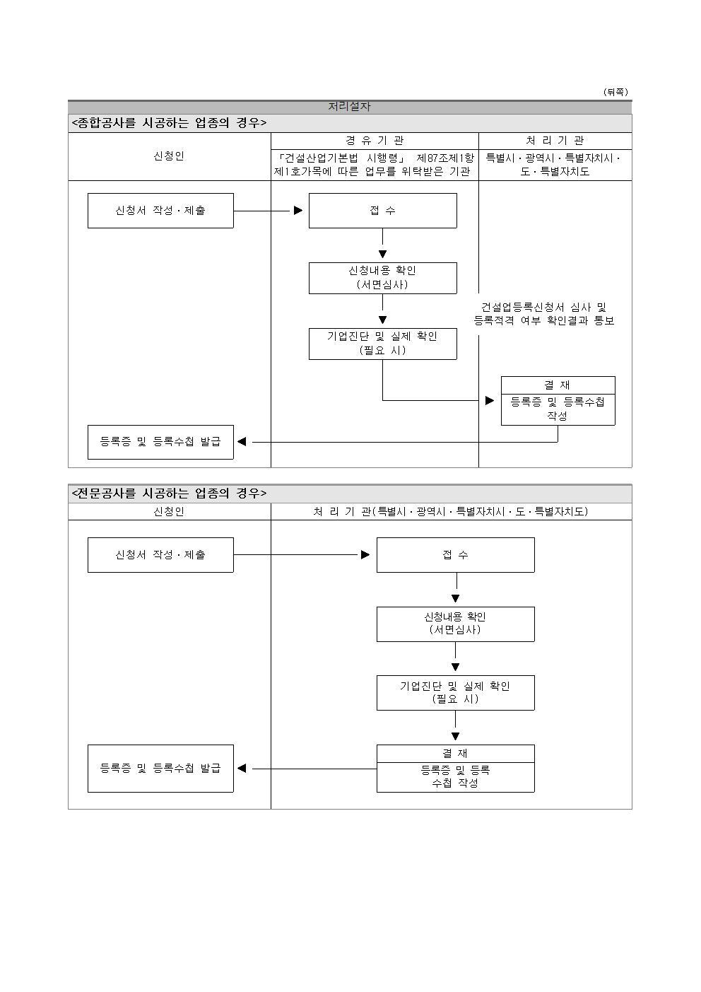
면허신청까지만도 대락 40일전후가 걸리게 됩니다.처음부터 저희와 같은 전문컨설팅에 문의하여

시작하시면 좀 더 수월하게 진행하실수 있으실겁니다.참고로 면허신청후 관할기관에서 심사기간은

최소 2주정도는 잡으셔야 합니다.

준비하시면서 이해가 안되거나 좀 더 자세한 상담을 원하시면 언제든 문의주시면 답변해 드리겠습니다

 

본격적인 여름이 시작된듯합니다.평상시에 몸관리 잘하셔서 건강한 여름을 보내시길 바랍니다~



조합원의 자격

 

건설산업기본법에 의한 기계설비공사업, 가스시설시공업, 난방시공업을 등록한 자, 또는 건설산업기본법 이외의 다른 법령(소방시설공사업, 전기공사업, 문화재수리업, 정보통신공사업 등)에 의거 등록한 자로써 우리조합에 다음과 같이 출자하시면 조합원이 될 수 있습니다.

 

. 기계설비공사업, 가스시설시공업(1)

구분

AAA~CCC등급

CC등급

C등급

비고

예치좌수

42

46

61

예치금액은 지분가액 987,680원을 적용

예치금액

41,482,560

45,433,280

50,371,680

건설업등록을 위해서는 위 금액을 조합에 예치하고, 보증가능금액확인서를 발급 받아 등록관청에 제출하셔야 합니다.

- 등록업종이 2개 이상일 경우에는 업종별로 각각 예치하여야 합니다.

- 좌당지분액은 12월말을 기준으로 변동이 됩니다.

 

결산 지분가액 변동으로 인하여 아래의 기간에는 별도의 잠정가액이 적용되며, 결산 지분가액이

확정되는 즉시 그 차액은 돌려드립니다.

- 매년 121일부터 익년 2월말까지

 

. 기타업종

1좌 이상

(출자좌수는 신용등급에 관계없음)

 

 

조합원의 권리와 책무

 

. 권리

조합원은 의결권을 가지며, 총회의 대의원, 운영위원회의 운영위원 및 감사로 선임될 수 있고, 보증융자 기타 조합의 사업을 이용할 수 있습니다.

 

. 책임

조합원은 그 지분액을 한도로 하여 조합의 채무를 변제할 책임이 있습니다.

 

. 의무

조합원은 정관, 규정 및 기타 각종 약관을 준수하여야 하며, 조합에 대하여 통지 및 신고의무가 있습니다.

 

 

조합원의 권리와 책무

. 조합원이 납부하는 수수료 및 이자 등의 각종 수익금은 출자지분액의 상승요인이 되어 조합원에게 환원해 드리고 있습니다.

 

. 조합원은 조합에 출자한 금액(거래지분가)26배의 범위내에서 각종 보증을 이용하실 수 있습니다.

 

. 조합원의 업무거래 편의를 위하여 매 건별로 채무약정을 체결하거나 일정기간(3) 동안에 한번의 약정체결로 업무거래를 할 수 있도록 한도거래채무약정제도를 운영하고 있습니다.

신규조합원의 융자이용은 보증가능금액확인서의 발급 및 해지에 관한 기준[건설교통부 고시 제2008-78(2008227)]에 의거 조합에 예치(출자)한 후 2년이 경과한 경우에 한하여 융자가 가능합니다.

 

. 조합원이 보증서를 발급받기 위해서 조합을 방문하지 않고 사무실에서 인터넷으로 보증서 발급 또는 융자를 이용할 수 있는 인터넷 온라인지점을 운영하고 있습니다.

 

. 융자금에 대한 이자납부는 자동이체로 하실 수 있습니다.

 

. 보증을 많이 이용하지 않는 조합원 중 보증이용 잔액(당해 발급분 포함)이 출자지분액의 1배이내인 경우에는 건당 최저수수료인 3천원만 징구하므로 저렴하게 이용하실수 있습니다.

 

. 계약 및 하자보수보증의 보증금액이 건당 1백만원 이하의 소액보증인 경우 입찰보증한도를 이용할 수 있으며, 이 경우 보증수수료는 연 0.8%(계약보증)0.6%(하자보수보증)이며, 이때 최저수수료는 6천원입니다.

 

 

 








첨부파일 기계설비공사업, 가스시설시공업(제1종) 전문건설업등록.hwp















다음검색
현재 게시글 추가 기능 열기

댓글

댓글 리스트
맨위로

카페 검색

카페 검색어 입력폼